
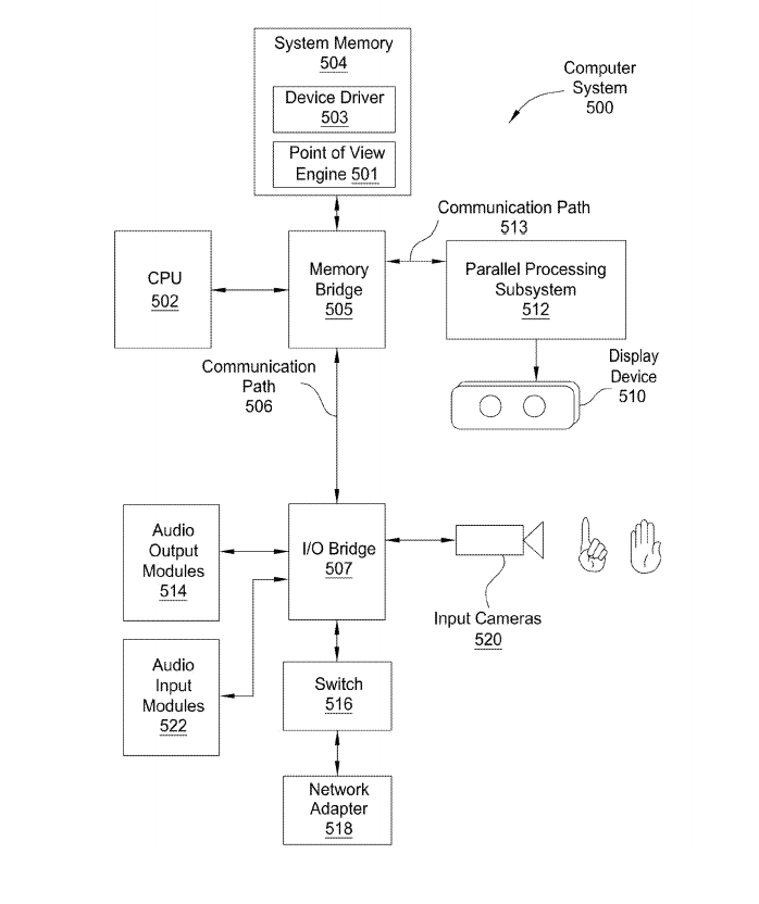
Oculus Rift non è nemmeno uscito ma ha già un successo devastante. Ovvio che con queste premesse, siano in tanti a rincorrere la novità e presentare la loro particolare interpretazione della realtà virtuale. Molti sicuramente falliranno miseramente l’obiettivo, probabilmente nemmeno arriveranno sul mercato, ma se dovessimo scommettere su un avversario che potrebbe infastidire seriamente Oculus ci viene in mente NVIDIA. Mica perché abbiamo cieca fiducia in lei, ma perché la sua visione, recentemente svelata (almeno in parte) dalla pubblicazone di un suo brevetto, ci sembra parecchio promettente. Il dispositivo integrerà ben sei videocamere i cui utilizzi non sono ancora stati ufficializzati ma che presumiamo possano essere sfruttate in vari modi, dal tracking dei movimenti della testa a quello delle mani, che potrebbero a tutti gli effetti diventare un controller. Non escludiamo a priori anche un utilizzo di tipo augmented reality, in stile Microsoft Hololens, ma ovviamente sono solamente delle nostre speculazioni e potremmo essere completamente fuori strada.
Analizzando ulteriormente il brevetto notiamo la presenza di un input e un output audio, che sospettiamo possano venire utilizzati per collegare direttamente al visore cuffie e display, andando a eliminare uno dei fastidiosissimi cavi, mentre la presenza di una scheda di rete ci fa sperare in una connessione wireless al computer.
Se vi sentite ferrati tecnicamente, o siete incredibilmente nerd, e volete dare un’occhiata al brevetto, lo trovate qui.
Fonte: VRFocus












