
Grazie alla collaborazione con DeNA, Nintendo ha da poco fatto il proprio debutto nell’universo del mobile, riscuotendo un notevole successo. Come riportato in una precedente notizia, Miitomo ha già superato la soglia dei dieci milioni di utenti, con più di venti milioni di Miifoto scattate in tutto il mondo. Tuttavia, il nuovo social network non rappresenta esattamente la prima esperienza della casa giapponese nel settore in questione, ma solo l’unica riconosciuta ufficialmente.
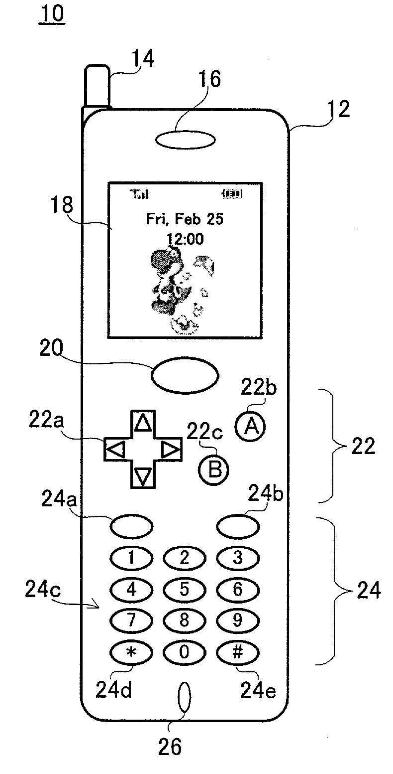
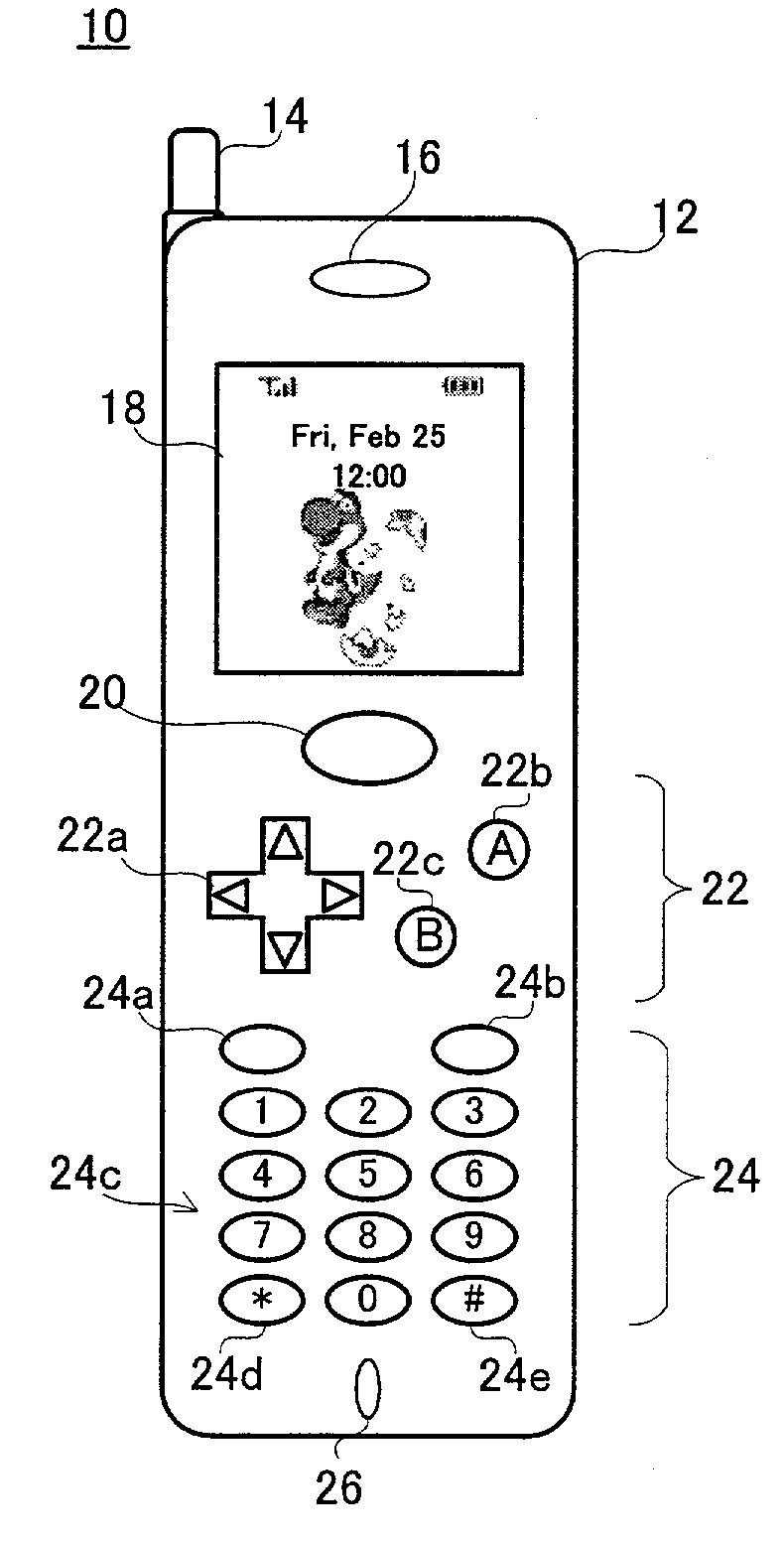
Un brevetto del 2001 recentemente apparso su Reddit, infatti, ha svelato l’esistenza di un curioso e purtroppo abbandonato progetto dell’azienda di Kyoto relativo a un telefono cellulare in grado di supportare i titoli del vecchio Game Boy, tra cui Super Mario DX, Metroid 2 e Golf. In base a quanto scoperto, il dispositivo avrebbe permesso persino di mettere in pausa il gioco per rispondere alle chiamate, per poi consentire di continuare dal punto di arresto, senza costringere a ripartire da capo.
Qua sotto potete trovare le immagini del mirabolante telefonino ideato da Nintendo. Quanti di voi avrebbero voluto possederlo? Fatecelo sapere sulla nostra pagina Facebook!














