
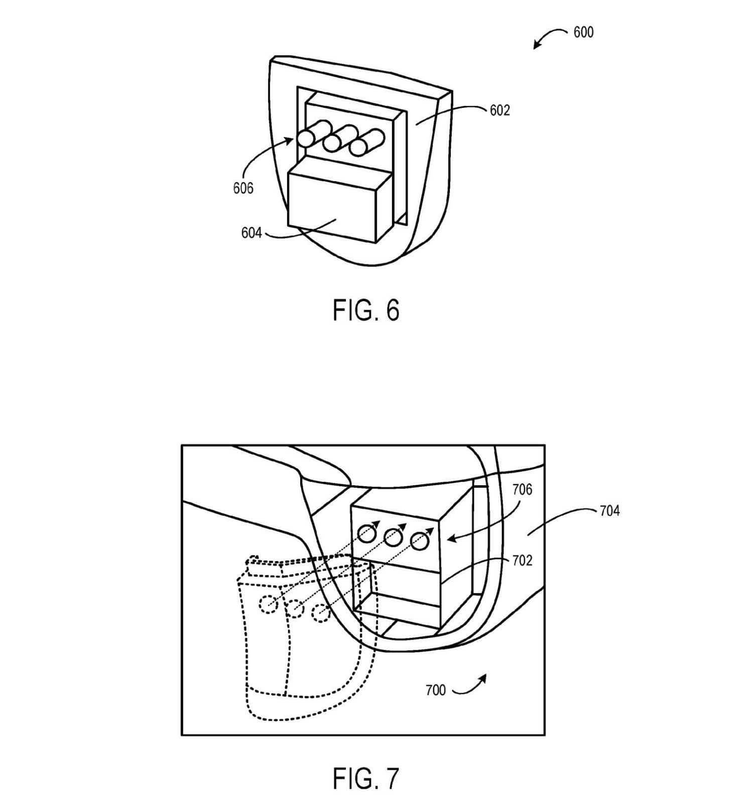
Stando a un brevetto depositato lo scorso marzo ma reso disponibile solo ora, potrebbe essere che Microsoft abbia in cantiere una nuova versione del Controller Elite.
Il brevetto fa riferimento a un sistema di grilletti intercambiabili, che aumenterebbe ancora di più le possibilità di personalizzazione del pad.
Non è ancora chiaro se e quando uscirà una nuova versione del controller, intanto vi riportiamo le inequivocabili immagini che fanno riferimento al brevetto.
Fonte: Windows Central












