
Polygon ha segnalato la presenza di una serie di brevetti firmati Nintendo legati a all’attesa console Nintendo Switch che potrebbero essere legati a un possibile supporto per la realtà virtuale.
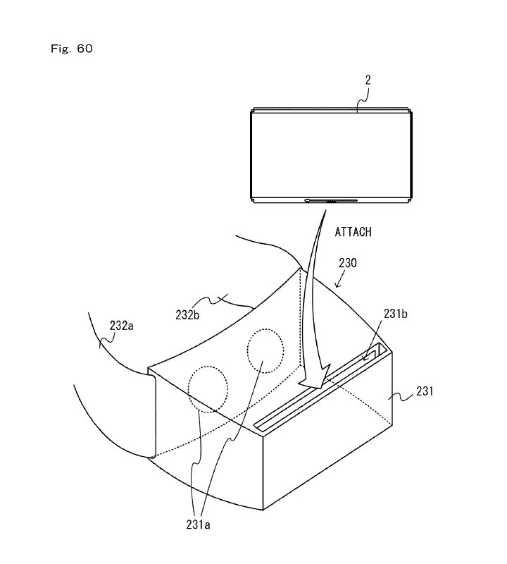
Si parla di touchscreen capacitativi e multitouch, ma anche di un interessante headset dedicato alla VR, molto simile a uno dei tanti già in commercio per la realtà virtuale, dove è previsto l’inserimento di uno smarthphone al posto dello schermo (come il Samsung Gear per intenderci).
Tale periferica permetterebbe l’inserimento di Nintendo Switch al suo interno, consentendo un utilizzo di funzionalità legate alla realtà virtuale e, probabilmente, anche realtà aumentata. Si parla addirittura di una camera a infrarossi e dei controller di vario genere.
Ovviamente non è possibile sapere se questi brevetti saranno davvero utilizzati da Nintendo per Nintendo Switch, ma dato l’attuale andamento del mercato è difficile pensare che la società di Kyoto non decida di seguire il trend VR a suo modo.
Fonte: Polygon
















