
Dopo mesi, Sony continua a registrare nuovi brevetti riguardanti la sua futura console, PlayStation 5. L’ultimo brevetto registrato da Sony, e trovato da TheGamePost, riguarda quello che sembrerebbe essere l’Interfaccia Utente di PlayStation 5.
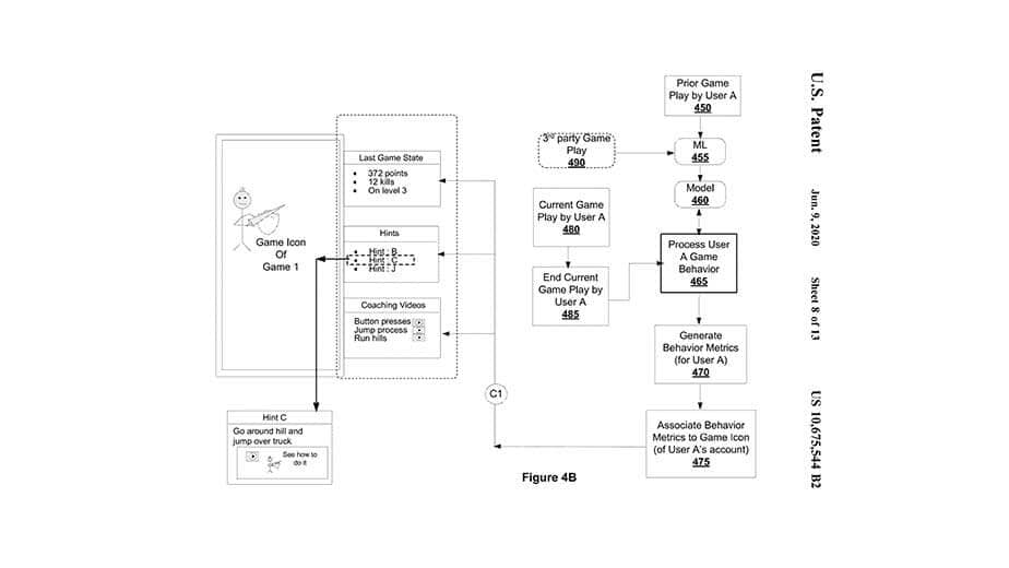
In questa interfaccia rinnovata, sembrerebbe essere possibile vedere le statistiche dei propri giochi, i risultati dei propri match e delle vere e proprie guide, testuali e video, su come andare avanti nel gioco.
Nonostante questo sia un brevetto depositato da Sony stessa, non è da dare per scontato che esso possa venir utilizzato su PlayStation 5. È innegabile, però, che sarebbe una feature davvero interessante.
L’interfaccia esteticamente sembra molto simile, se non identica, a quella attualmente presente su PlayStation 4. A quanto pare Sony sta, dunque, cercando di migliorare la sua già ottima interfaccia. Facendo così, inoltre, potrebbe far sentire “a casa” i propri utenti, senza che questi si trovino spiazzati da un’interfaccia totalmente differente.
Nonostante non sia ancora stata mostrata la console, Sony continua a tenere altissimo l’interesse centellinando le informazioni e depositando brevetti; i quali non fanno altro che stuzzicare la fantasia degli utenti.
Più informazioni si spera possano essere svelate l’11 giugno, data in cui Sony farà la presentazione dei giochi PlayStation 5. Evento per il quale Sony raccomanda l’ascolto tramite un buon paio di cuffie.
Le aspettative sono quindi davvero elevatissime, specie dopo i recenti rumor riguardanti la presenza di Poliphony Digital e Santa Monica all’evento della casa giapponese.
Nel frattempo, godetevei le immagini del brevetto depositato da Sony, in cui è possibile ammirare quella che potrebbe essere l’interfaccia di PlayStation 5.
Fonte: TheGamePost























