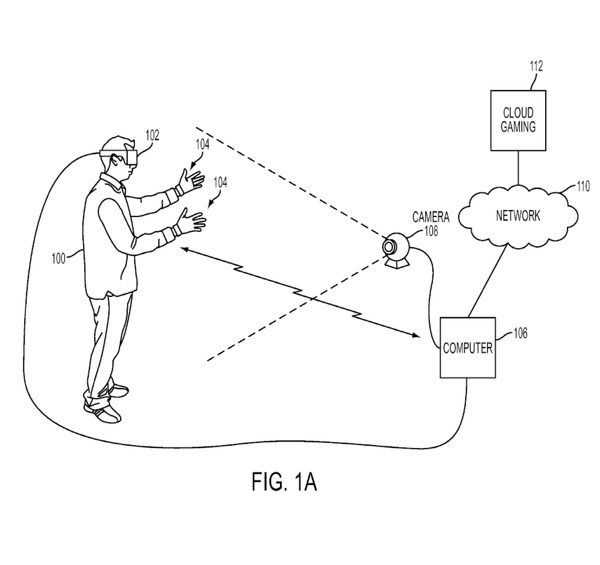
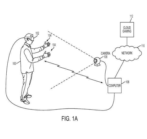
Nintendo era quasi trent’anni avanti quando nel 1989 realizzò il Power Glove, accessorio per NES. Sì, perché a distanza di tanto tempo è Sony ad aver ripreso l’idea, depositando tre brevetti del proprio “guanto controller”.
Come fa notare un utente di NeoGAF, i brevetti in questione mostrano un dispositivo costituito da un sensore flessibile per monitorare la posizione delle dita, uno di contatto utile a percepire se si sta toccando qualcosa e un modulo di comunicazione per inviare i dati a un display di modo che la rappresentazione virtuale della mano dell’utente venga riportata nel visore PlayStation VR.
Secondo la descrizione si tratterebbe di “un oggetto configurato per essere illuminato durante l’interattività”; inoltre, “i guanti potrebbero essere indossati da più utenti in un titolo multigiocatore”.
È però importante sottolineare che, sebbene il brevetto sia stato depositato, non è detto che il prodotto vedrà la luce. Non possiamo sapere quanto un progetto di tale portata costerebbe e, soprattutto, quanto possa effettivamente funzionare. A ogni modo è interessante sapere che Sony stia quantomeno prendendo in considerazione l’idea di sviluppare questo particolare guanto.
Di seguito trovate le immagini dei brevetti.












